顶空气相色谱法测定曲匹布通原料药中有机溶剂残留量 |
| 孙春艳,赵亚萍,陈林宁,程樱 |
|
Determination of Residual Organic Solvents in Trepibutone by Headspace Gas Chromatography |
| Chunyan SUN,Yaping ZHAO,Linning CHEN,Ying CHENG |
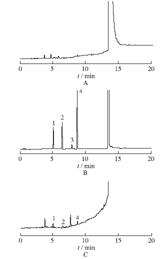
| 图1 3种溶液的GC色谱图 A.空白溶液;B.混合对照品溶液;C.样品溶液;1.甲醇;2.乙醇;3.二氯甲烷;4.正己烷. |
| Fig.1 GC chromatogram of three kinds of solutions A.blank solution;B.mixed reference solution;C.sample solution;1.methanol;2.ethanol;3.dichloromethane;4.hexane |
![]() |